建议使用浏览器Chrome, QQ浏览器
登录/注册
首页 目录 资料 实验室 电子课本 人教版 苏教版 鄂教版 留言反馈 排行榜 课件下载
人教版高中物理必修第二册微课教学+课件教案(文末下载) 2021-06-09 14:16:28

 扫码查看下载

全部资源





人教版高中物理必修第一册微课+课件

人教版高中物理必修第二册微课教学

高中物理必修选修学生用书电子版下载

高中物理(微课+课件+教案+练习试卷)资料汇总

目录
第五章 抛体运动
1 曲线运动
2 运动的合成与分解
3 实验:探究平抛运动的特点
4 抛体运动的规律

第六章 圆周运动
1 圆周运动
2 向心力
3 向心加速度
4 生活中的圆周运动

第七章 万有引力与宇宙航行
1 行星的运动
2 万有引力定律
3 万有引力理论的成就
4 宇宙航行
5 相对论时空观与牛顿力学的局限性

第八章 机械能守恒定律
1 功与功率
2 重力势能
3 动能和动能定理
4 机械能守恒定律
5 实验:验证机械能守恒定律


全册知识点总结

第五章抛体运动


知识点框图

知识点难点解析

一、连接体关联速度问题

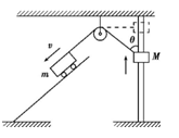
1:如图所示,将楔形木块B放在光滑水平面上,靠在墙边处并用手扶着,然后在木块和墙面之间放入一个小球A,楔形木块的倾角为θ,放手让小球和木块同时由静止开始运动,某一时刻二者速度分别为vAvB,(  )

A.vAvB=11

B.vA∶vB=sinθ∶cosθ

C.vAvB=cosθsinθ

D.vAvB=sinθtanθ

解析:小球A实际的速度vA(合速度)竖直向下,它的运动有两个效果,一是沿斜面向下的运动,设其速度为v1,二是垂直斜面向下的运动,设其速度为v2,如图甲所示,则有v2=vAcosθ

楔形木块B实际的速度vB(合速度)水平向右,它的运动也有两个效果,一是沿斜面向上的运动,设其速度为v3,二是垂直斜面向下的运动,设其速度为v4,如图乙所示,则有v4=vBsinθ

因为小球A和木块B在垂直斜面方向上紧紧地挤压在一起,所以它们在垂直斜面方向上的分速度相等,即有v2=v4

联立解得vAvB=sinθcosθ,B正确。

归纳点睛:

连接体关联速度问题的分析方法

牵引方向与被牵引物体的运动方向不在同一条直线上时,物体做变速曲线运动,为了确定合运动与分运动的关系,一般应按如下步骤进行分析。

(1)确定合运动的方向:物体运动的实际方向就是合运动的方向,即合速度的方向;

(2)确定合运动的效果:一是沿牵引力方向的平动效果,改变速度的大小,二是垂直牵引力方向的转动效果,改变速度的方向;

(3)将合速度按平动、转动效果进行分解,确定合速度与分速度的大小关系。

求轻绳(或可自由转动的轻杆)连接体的速度关联问题时,首先要确定分解哪个物体的速度(通常分解不沿绳运动的那个物体的速度);然后,找准这个物体的合运动(实际运动)的方向;最后,按照产生的两个实际效果的方向(沿绳方向和垂直绳方向)分解。根据沿绳方向的分速度大小相等建立等量关系求解。

求相互接触并挤压的物体的速度关联问题时,根据两物体沿弹力方向的速度相等(接触点处相对速度为零,所以速度相等)建立等量关系求解。

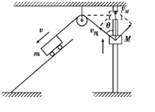
习:如图所示,小车m以速度v沿斜面匀速向下运动,并通过绳子带动重物M沿竖直杆上滑。则当滑轮右侧的绳子与竖直方向成θ角时,重物M上滑的速度大小为(  )

A.vsinθ    B.vcosθ  

C.vtanθ    D.v/cosθ

解析:将重物M的速度按图示两个方向分解,绳子速率为v=vMcosθ,而绳子速率等于小车m的速率,则重物M上滑的速度大小为vM=,ABC错误,D正确。


二、平抛运动规律的应用

2:某同学在参加快乐大冲关的游戏过程中遇到了一个人造山谷AOB,如图所示,AO是高h=3m的竖直峭壁,OB是以A点为圆心的弧形坡,OAB=60°,B点右侧是一段水平跑道。该同学(可视为质点)选择自A点沿水平方向跳跃到水平跑道。忽略空气阻力,重力加速度g=10m/s2

(1)该同学至少以多大的水平速度跳出,才能跳到水平跑道上?

(2)若该同学以4m/s的速度水平跳出,则他在空中的运动时间为多少?

答案 (1) m/s (2)0.6s

归纳点睛:

解决平抛运动问题的三个突破口

(1)平抛运动的时间。平抛运动规律中,各物理量都与时间有联系,所以只要求出平抛运动的时间,其他的物理量都可轻松解出。

(2)平抛运动的偏转角。如图所示。

可得tanθ=gt/V0=,tanα=h/x,所以有tanθ=2tanα。从以上各式可以看出偏转角和其他物理量都有关联,通过偏转角可以确定其他的物理量。

(3)平抛运动的一段轨迹。

设图为某小球做平抛运动的一段轨迹,在轨迹上任取AEB三点,使FE=DB

则有tAE=tEB=T

竖直方向上由匀变速直线运动推论得FC-AF=gT2

水平方向上由匀速直线运动规律得FE=DB=v0T

可由以上关系求解有关问题。


练习2:如图所示为四分之一圆柱体OAB的竖直截面,半径为R,B点上方的C点水平抛出一个小球(可视为质点),小球轨迹恰好在D点与圆柱体相切,ODOB的夹角为60°,C点到B点的距离为(  )

  A.R    B.R/2    C.3R/4    D.R/4

答案D.由题图知,水平位移x=Rsin60°=√3R/2=v0t,竖直位移y=

Vyt/2,tan60°=Vy/V0=√3,联立解得y=3R/4,所以C点到B点的距离d=3R/4-R/2=R/4,选项D正确。

三、平抛运动实验的数据处理



第七章《万有引力与航天》知识点梳理

7.1行星的运功

一、地心说和日心说

1.地心说

(1)地球是宇宙的中心,是静止不动的;

(2)太阳、月亮以及其他行星都绕地球运动;

(3)地心说的代表人物是古希腊科学家托勒密。

2.日心说

(1)宇宙的中心是太阳,所有行星都绕太阳做匀速圆周运动;

(2)地球是绕太阳旋转的行星,月球是绕地球旋转的卫星,它绕地球做匀速圆周运动,同时还跟地球一起绕太阳旋转;

(3)天体不动,因为地球每天自西向东自转-一周,造成天体每天东升西落的现象;

(4)日心说的代表人物是哥白尼.

二、开普勒行星运动定律及其意义

1.定律内容:第一定律:所有的行星围绕太阳运动的轨道都是椭圆,太阳处在所有椭圆的一个焦点上.

第二定律:从太阳到行星的连线在相等的时间内扫过相等的面积.

第三定律:行星轨道半长轴的三次方与公转周期的二次方的比值是一个常量.其表达式为r3/T2=k(在开普勒第三定律中,所有行星绕太阳转动的k值均相同;但对不同的天体系统k值不相同.k值的大小由系统的中心天体决定)

2. 意义:开普勒的重要发现,为人们解决行星运动学问题提供了依据,澄清了多年来人们对天体运动神秘、模糊的认识,也为牛顿创立他的天体力学理论奠定了观测基础.开普勒是用数学公式表达物理定律并最早获得成功的人之一.从此,数学公式就成为表达物理学定律的基本方式.

三、中学阶段对天体运动的处理方法

由于大多数行星绕太阳运动的轨道与圆十分接近,因此,在中学阶段的研究中可以按圆轨道处理,开普勒三定律就可以这样表述:

1.行星绕太阳运动的轨道十分接近圆,太阳处在圆心;

2.对某一行星来说,它绕太阳做圆周运动的角速度(或线速度)不变,即行星做匀速圆周运动;

3.所有行星轨道半径的三次方跟它的公转周期的二次方的比值都相等,即r3/T2=k.

四、开普勒行星运动定律的应用

1、从空间分布认识开普勒第一定律

(1)各行星的椭圆轨道尽管大小不同,但是太阳总处在所有轨道的一个共同焦点上。

(2)不同行星轨道的半长轴是不同的。

(3)行星的椭圆轨道都很接近圆,中学阶段在分析处理天体运动问题时,可以将行星轨道作为圆来处理。这是一种突出主要因素、忽略次要因素的理想化方法,是研究物理问题的常用方法。

2、从速度大小变化认识开普勒第二定律

如图,行星沿椭圆轨道运行,太阳位于椭圆的一个焦点上,如果时间间隔相等,即t1-t2=t4-t3,那么面积SA-SB。由此可见,行星在远日点的速率最小,在近日点的速率最大。

3、开普勒第三定律

(1)表达式a3/T2=K ,其中a是椭圆轨道的半长轴,T为公转周期,k是与太阳质量有关而与行星无关的常量。

(2)行星的椭圆轨道都很接近圆。在近似的计算中,可以认为行星以太阳为圆心做匀速圆周运动。若用r代表轨道半径,T代表周期,开普勒第三定律可以写成r3/T2=K。

(3)知道了行星到太阳的距离,就可以由开普勒第三定律计算或比较行星绕太阳运行的周期;反之,知道了行星的周期,也可以计算或比较其到太阳的距离。


7.2万有引力定律

一、太阳与行星间引力公式的应用

(1) 由于天体间的距离远大于天体本身的大小,因此在研究天体间的引力时可将天体看成质点,即天体的质量集中在球心处,故中的r指两天体球心间的距离。

(2) 太阳对行星的引力效果是提供向心力,使行星绕太阳做匀速圆周运动。

二、万有引力定律及引力常量的理解

1、万有引力定律公式的适用条件

(1)F=GMm/r2只适用于质点间的相互作用,但当两物体间的距离远大于物体本身的大小时,物体可视为质点,公式也近似成立。

(2)当两物体是质量分布均匀的球体时,它们间的引力也可直接用公式计算,但式中的r是指两球心间的距离。

特别提醒:万有引力存在于任何两物体之间,但万有引力定律公式只适用于两个质点或匀质球体之间,当物体间距r → 0时,物体不能视为质点,故不能得出r→0时,物体间万有引力F→∞的结果。

2、引力常量

(1)引力常量测定的理论公式为G=Fr2/Mm,单位为N·m2/Kg2    

(2)物理意义:引力常量在数值上等于两个质量都是1kg的质点相距1m时的相互吸引力。

(3)由于引力常量G很小,我们日常接触的物体的质量又不是很大,所以物体之间的引力通常被忽略。

三、万有引力大小的计算

(1)对于质量分布均匀的球体,万有引力定律的表达式中r为两球心间的距离。

(2)用“填补法”求物体间的万有引力。

计算一些非球形物体间的万有引力,常采用“填补法”。所谓“填补法”,即对本来是非对称的物体,通过填补后构成对称物体,然后再利用对称物体所满足的物理规律进行求解的方法。常见的类型是把非对称物体(挖空部分为球体)补成球体,即先把挖去的部分“补”上,使其成为半径为R的完整球体,再根据万有引力定律公式,分别计算出半径为R的球体和“补”上的球体对物体的万有引力,最后利用力的合成与分解的知识即可得到答案。

四、万有引力与重力的关系

1、重力是万有引力的分力

如图所示,设地球的质量为M,半径为R, A处物体的质量为m,物体受到地球的吸引力为F,方向指向地心O,由万有引力公式得F=GMm/r2

由于地球自转,地球上的物体随之做圆周运动,所受的向心力F1=mω2r=mω2RcosϴF1是引力F提供的,它是F的一个分力,F 的另一个分力2就是物体所受的重力,即F2=mg。

由此可见,地球对物体的万有引力是物体受到重力的原因。由于物体随地球自转,需要有一部分万有引力来提供向心力,因此地球自转是产生重力和万有引力差异的原因。

2、影响重力(重力加速度)大小的因素(把地球看成是一个质量分布均匀的球体).

(1)物体在赤道上,如图所示,F、F、mg三者同向,向心力F达到最大值mω2r,由mg=GMm/R2-mω2R知,重力最小。

(2)物体在地球两极处,如图所示,由于向心力F=0,故mg=GMm/R2重力最大,方向指向地心。

(3)随着纬度的增大,重力逐渐增大。说明:在地球表面上,重力加速度随纬度的增大而增大,但这种差别不是很大,在近似计算中可以忽略这种变化。



7.3万有引力定律的成就

1.天体质量的计算

(1)重力加速度法

若已知天体(如地球)的半径R及其表面的重力加速度g,根据在天体表面上物体的重力近似等于天体对物体的万有引力,得mg=GMm/R2,解得天体的质量为M=gR2/G,g、R是天体自身的参量,所以该方法俗称“自力更生法”。

(2)环绕法

借助环绕中心天体做圆周运动的行星(或卫星)计算中心天体的质量,俗称“借助外援法”。常见的情况如下:


2.天体密度的计算

方法一:若天体的半径为R,由“重力加速度法”可知天体的质量为M=gR2/G,那么由ρ=M/V及V=πR3求得天体的密度ρ。

方法二:若中心天体的半径为R,由“环绕法”可知中心天体的质量M=4π2r3/T2G (r、T为环绕天体的轨道半径和公转周期),那么由ρ=M/v及V=πR3求得中心天体的密度ρ。当行星(或卫星)环绕中心天体表面运动时,其轨道半径r等于天体半径R,则ρ=。ρ=给出了一种简单地求中心天体密度的方法,但是千万要注意这里的T是环绕中心天体表面运动时对应的周期,而不是在其他轨道上运动时的周期。

注意区分R、r、h的意义,一般情况下,R指中心天体的半径,r指行星(或卫星)的轨道半径,h指卫星距离行星表面的高度,r=R+h。


1.天体运动的分析与计算

(1)基本思路:行星绕太阳的运动和卫星绕地球的运动一般情况可看作匀速圆周运动,所需向心力由太阳或地球这样的中心天体对它的万有引力提供,即F=F









第八章(机械能守恒定律)全章知识点填空

8.1功与功率

1.在物理学中规定_________叫做力对物体做了功。功等于_________,它的计算公式是________,国际单位制单位是___________,用符号_________来表示。

2.在下列各种情况中,所做的功各是多少?

(1)手用向前的力F推质量为m的小车,没有推动,手做功为__________。

(2)手托一个重为25N的铅球,平移3m,手对铅球做的功为___________。

(3)一只质量为m的苹果,从高为h的树上落下,重力做功为__________。

3.___________叫做功率。它是用来表示物体_______的物理量。功率的计算公式是___________,它的国际单位制单位是___________,符号是_________。

4.举重运动员在5s内将1500N的杠铃匀速举高了2m,则可知他对杠铃做的功为__________,功率是__________。

5.两个体重相同的人甲和乙-起从一楼上到三楼,甲是跑步上楼,乙是慢步上楼。甲、乙两人所做的功W甲_______W乙,他们的功率P甲_______P乙。(填“大于”“小于”或“等于”)

6.汽车以恒定功率起动,先做加速度越来越_____的加速运动,直到速度达到最大值,最后做____________运动。

7.汽车匀加速起动,先做匀加速运动,直到___________,再做加速度越来________的加速运动,直到速度达到最大值,最后做___________运动。

8.2.重力势能

1.重力做功

①做功表达式:_______________,式中h指初位置与末位置的_____高度差______;

h1、h2分别指_______末位置________、________初位置_________的高度。

②做功的正负:物体______向下运动_______时重力做正功;物体被______抬起_______时重力做负功。

③做功的特点:物体运动时,重力对它做的功只跟它的________初、末位置_______有关,而跟物体运动的_______路径_______无关。

2.重力势能

①定义:物体的重力与所处高度的乘积。

②大小:表达式Ep=____mgh_____;

③单位:_____焦耳_____,符号:J。

④标矢性:重力势能是______标量____,只有大小、没有方向。

⑤重力做功与重力势能变化的关系

(1)表达式:________________________

(2)两种情况:

物体下落:WG>0,EP1>EP2,势能减少

物体上升:WG<0,EP1<EP2,势能增加

8.3动能和动能定理

一、动能的表达式

在物理学中就用这个量_________表示物体的动能,用符号_____表示。于是我们说质量为m的物体,以速度v运动时的动能是___________。 

 

动能是______量,它的单位与功的单位相同,在国际单位之中都是焦耳,这是因为1kg(m/s)2=1N·m=1J

二、动能定理

表达式_________可以写成____________

其中表示一个过程的_________,表示这个过程的___________。

这表明,力在一个过程中对物体做的功,等于物体在这个过程中_____________。这个结论叫做动能定理。

动能定理不涉及物体运动过程中的加速度和时间。

合力做正功时,物体的动能__________;合力做负功时,物体的动能___________。

1.伽利略在斜面实验中(如图1所示),发现一个启发性的事实:无论斜面陡些或缓些,小球最后总会在斜面上的某点速度变为0,这点距斜面底端的竖直高度与它出发时的高度__________。在物理学中,我们把这一事实说成是“某个量是______的”,并且把这个量叫做________或_________。

2.机械能包括_______能和_______能,重力做功:_________能和__________能可以转化,弹力做功:_________能和___________能可以转化。

3.机械能守恒定律:在__________做功的物体系统内,________与_________可以__________,而总的_____________保持不变。

8.4机械能守恒定律

一、追寻守恒量

1、能量是普遍存在的

2、伽利略斜面实验现象表明:让静止的小球沿一个斜面滚下,小球将滚上另一个对接斜面,没有摩擦时,小球将滚到与开始时相同的高度。

3、能量概念的建立:始、末位置高度相同,小球运动中守恒的量叫____________。

二、动能与势能的相互转化

1、重力做_________,重力势能转化为动能;克服重力做功,________转化为重力势能。

2、弹性势能也可以与动能相互转化。

3、重力势能、弹性势能与动能都是机械运动中的能量形式,统称为____________。

三、机械能守恒定律

在只有重力或弹力做功的物体系统内,动能与势能可以_______________,而总的机械能保持_________。

1.必须选择一个符合机械能守恒的运动模型来验证机械能守恒定律,本实验选择自由落体运动模型来验证机械能守恒定律,是因为物体在自由落体运动过程中只_________做功,满足_________。

2.按照书本要求,本实验是验证自由落体轨迹上开始点和其后任意点的机械能守恒,为此必须选择物体初速度为____________,判断开始点是否满足要求的依据是_________,为了计算物体减少的重力势能,必须测量出物体_____________,对应的测量器材是____________。为了计算出某点时刻物体的动能,必须测量出物体在该时刻的瞬时速度,其计算公式为___________,这是利用了什么原理?___________。为了计算物体的动能和重力势能,按理还需要知道物体的质量,但本实验中可以不测物体的质量,其原因是___________。

8.5实验:机械能守恒定律

一、用落体法验证机械能守恒定律

1、实验步骤

1)仪器安装:按图示装置竖直架稳打点计时器,并用导线将打点计时器接在电源上。


2)打纸带:将长约1m的纸带用小夹子固定在重物上后穿过打点计时器,用手提着纸带,使重锤静止在靠近打点计时器的地方。接通电源,松开纸带,让重锤自由下落,打点计时器就在纸带上打下一系列的点。

3)换几条纸带,重复上面的实验。

2、数据处理

1)求瞬时速度

在取下的纸带中挑选第12两点间距离接近2mm且点迹清晰的纸带进行测量。记下第1个点的位置O,在纸带上从离O点适当距离开始选取几个计数点0123n+1并测量出各计数点到O点的距离h0h1h2h3hn+1,再根据公式Vn=(hn+1hn-1)/2T,计算出123n点的瞬时速度v1v2v3vn

2)机械能守恒验证

方法一:利用起始点和第n

从起始点到第n个计数点,重力势能减少量为mghn,动能增加量为________,如果在实验误差允许的范围内________________,即___________成立,则机械能守恒定律得到验证。

方法二:任取两点

①任取两点A,B,测出hAB,求出ghAB

②分别求出AB两点的瞬时速度vAvB,求出_____________的值。

③如果在实验误差允许的范围内____________,就证明机械能是守恒的。

方法三:图像法


计算各计数点的,以为纵轴,以各计数点到第一个点的距离h为横轴,根据实验数据绘出­h图线。若在实验误差允许的范围内,图像是一条过原点且斜率为g的直线,如图所示,则验证了机械能守恒定律。

3)误差分析

①本实验中因重物和纸带在下落过程中要克服空气阻力及打点计时器的摩擦阻力做功,故动能的增加量ΔEk________重力势能的减少量ΔEp,即_________,这属于系统误差。改进的办法是调整器材的安装和选用质量和密度较大的重物,尽可能地减小阻力的影响。

②本实验的偶然误差主要来源于长度的测量。减小误差的办法是测下落距离时都从O点量起,一次将各计数点对应的下落高度测量完,或者______________

【典例一】1、晓宁利用自由落体的方法验证了机械能守恒定律,他进行了多次操作打出了四条不同的纸带,经过测量可知纸带A、纸带B,纸带C、纸带D前两点之间的距离分别为0.185cm0.192cm0.265cm0.195cm。已知低压交流电源的频率为50HZ、重锤的质量为1.00Kg、重力加速度取g=9.80m/s2。回答下列问题:

(1)上述的四条纸带中有一条在操作过程中存在明显的问题,该纸带为__________;

(2)按照测量的要求从其中选出一条合适的纸带,并选取点迹清晰的计时点,用刻度尺测出的实验数据如图所示,分析知纸带的__________(选填”)端与重锤相连;


(3)由图中的实验数据求解打计时点2,重锤下落的速度为_________.

(4)重锤由计时点0下降到计时点2的过程中,重锤的重力势能的减少量△EP_______,重锤的动能的增加量△EK________,由计算分析可知_______ (选填“>” “ =”“<”),原因为_____________.

 (5)请根据以上写出实验结论:______________.

二、用气垫导轨验证沿斜面下滑物体的机械能守恒

1、实验步骤

1)器材安装按图示安装器材,调节气垫导轨至倾斜状态,测出两光电门所在位置的高度差Δh


2)实验测速:连通进气装置,使气垫导轨开始工作,从静止释放滑块,分别侧出滑块经过两个光电门的遮光时间Δt1Δt2

3)重复实验:从不同的位置释放滑块,分别测出遮光时间。

2、数据处理

1)速度的测量:用游标卡尺测出滑块上遮光片的宽度d,读出遮光条通过光电门的遮光时间,则滑片通过光电门的速度V=d/t

2)验证关系式 

方式1(两个光电门):分别测出滑块经过两个光电门的速度V1=d/t1V2=d/t2,用刻度尺测出两光电门的高度差Δh,验证在误差范围内是否满足g·△h=(1/2)×[(d/t2)2[(d/t1)2]

方式2(一个光电门):让滑块从光电门上方某一位置由静止释放,测出该点到光电门的高度差△h和滑块经过光电门的速度,验证在误差范围内g·△h=(1/2)×(d/t)2成立。

【典例二】2、某学校实验小组利用如图所示的实验装置来验证钩码和滑块所组成的系统机械能守恒。


(1)实验前先调整气垫导轨底座使之水平;

(2)利用游标卡尺测得遮光条的宽度为d,实验时将滑块从图示位置由静止释放,由数字计时器读出遮光条通过光电门的时间为Δt,那么,在本次实验中还需要测量的物理量有:钩码的质量m___________________________________________________(以文字说明并用相应的字母表示)

(3)本实验通过比较__________________________(用测量的物理量符号表示)在实验误差允许的范围内相等,就可以验证系统的机械能守恒。

  

典例一答案

解题思路:(1)纸带C肯定有操作错误,因为h=0.265cm0.20cm,说明他操作时先释放了纸带,后接通了电源,致使打点计时器打第一个计时点时,重锤的速度并不为零;

2)因重锤做自由落体运动,开始记录时计时点间距小,所以纸带的左端与重锤相连;

(3)重锤的速度V2=(x03x01)/2T,代入数据可得V2=0.98m/s

(4)从计时点0到计时点2的过程中,重力势能的减少量△Ep=mgx020.49J,动能的增加量△EK=(1/2)mV20.48J,由以上计算知,△Ep>△EK,这是因为实验中有摩擦力和空气阻力等阻力的存在,重锤要克服阻力做功而损失机械能;

5)在实验误差允许范围内机械能守恒。

答案:(1)纸带C(2)左;(3)0.98m/s(4)0.49J0.48J>,实验中存在摩擦力和空气阻力,重锤克服阻力做功损失机械能;(5)在实验误差允许范围内机械能守恒

 

典例二答案

解题思路:(2)由于遮光条通过光电门的时间极短,因此可以利用平均速度来代替瞬时速度,因此滑块经过光电门时的瞬时速度为vd/t,计算滑块(包含遮光条)的动能还需要知道滑块(包含遮光条)的质量M,故还需要测量M。为了计算钩码的重力势能的减小量,还需要知道滑块上遮光条的初始位置到光电门的距离x

(3)以钩码和滑块(包括遮光条)所组成的系统为研究对象,其重力势能的减小量为mgx,系统动能的增加量为(1/2)(M+m)(d/t)2。因此只要比较二者是否相等,即可验证系统机械能是否守恒。

答案:(2)滑块(包含遮光条)的质量M 滑块上遮光条的初始位置到光电门的距离x

下载完整电子版

   领取方法1  

第1步:扫码关注 班班通教学平台

第2步:发送关键字24】2个数字

   领取方法2  

打不开百度网盘链接的地区

可长按扫码直接进入下载

电脑端下载网址

http://jazpan.com/box/533.html

图文来自网络,版权归原作者,如有不妥,告知即删

点击阅读原文下载全册PPT课件动画教案习题整套资料

扫码查看下载全部资源人教版高中物理必修第一册微课+课件人教版高中物理必修第二册微课教学高中物理必修选修学生用书电子版下载高中物理(微课+课件+教案+练习试卷)资料汇总目录第五章 抛体运动1 曲线运动2 运动的合成与分解3 实验:探究平抛运动的特点4 抛体运动的规律第六章 圆周运动1 圆周运动2 向心力3 向心加速度4 生活中的圆周运动第七章 万有引力与宇宙航行1 行星的运动2 万有引力定律3 万有引力理论的成就4 宇宙航行5 相对论时空观与牛顿力学的局限性第八章 机械能守恒定律1 功与功率2 重力势能3 动能和动能定理4 机械能守恒定律5 实验:验证机械能守恒定律全册知识点总结第五章抛体运动知识点框图知识点难点解析一、连接体“关联”速度问题例1:如图所示,将楔形木块B放在光滑水平面上,靠在墙边处并用手扶着,然后在木块和墙面之间放入一个小球A,楔形木块的倾角为θ,放手让小球和木块同时由静止开始运动,某一时刻二者速度分别为vA和vB,则(  )A.vA∶vB=1∶1B.vA∶vB=sinθ∶cosθC.vA∶vB=cosθ∶sinθD.vA∶vB=sinθ∶tanθ解析:小球A实际的速度vA(合速度)竖直向下,它的运动有两个效果,一是沿斜面向下的运动,设其速度为v1,二是垂直斜面向下的运动,设其速度为v2,如图甲所示,则有v2=vAcosθ楔形木块B实际的速度vB(合速度)水平向右,它的运动也有两个效果,一是沿斜面向上的运动,设其速度为v3,二是垂直斜面向下的运动,设其速度为v4,如图乙所示,则有v4=vBsinθ因为小球A和木块B在垂直斜面方向上紧紧地挤压在一起,所以它们在垂直斜面方向上的分速度相等,即有v2=v4联立解得vA∶vB=sinθ∶cosθ,故B正确。归纳点睛:连接体“关联”速度问题的分析方法牵引方向与被牵引物体的运动方向不在同一条直线上时,物体做变速曲线运动,为了确定合运动与分运动的关系,一般应按如下步骤进行分析。(1)确定合运动的方向:物体运动的实际方向就是合运动的方向,即合速度的方向;(2)确定合运动的效果:一是沿牵引力方向的平动效果,改变速度的大小,二是垂直牵引力方向的转动效果,改变速度的方向;(3)将合速度按平动、转动效果进行分解,确定合速度与分速度的大小关系。求轻绳(或可自由转动的轻杆)连接体的速度关联问题时,首先要确定分解哪个物体的速度(通常分解不沿绳运动的那个物体的速度);然后,找准这个物体的合运动(实际运动)的方向;最后,按照产生的两个实际效果的方向(沿绳方向和垂直绳方向)分解。根据沿绳方向的分速度大小相等建立等量关系求解。求相互接触并挤压的物体的速度关联问题时,根据两物体沿弹力方向的速度相等(接触点处相对速度为零,所以速度相等)建立等量关系求解。练习:如图所示,小车m以速度v沿斜面匀速向下运动,并通过绳子带动重物M沿竖直杆上滑。则当滑轮右侧的绳子与竖直方向成θ角时,重物M上滑的速度大小为(  )A.vsinθ    B.vcosθ  C.vtanθ    D.v/cosθ解析:将重物M的速度按图示两个方向分解,绳子速率为v绳=vMcosθ,而绳子速率等于小车m的速率,则重物M上滑的速度大小为vM=,A、B、C错误,D正确。二、平抛运动规律的应用例2:某同学在参加“快乐大冲关”的游戏过程中遇到了一个人造山谷AOB,如图所示,AO是高h=3m的竖直峭壁,OB是以A点为圆心的弧形坡,∠OAB=60°,B点右侧是一段水平跑道。该同学(可视为质点)选择自A点沿水平方向跳跃到水平跑道。忽略空气阻力,重力加速度g=10m/s2。(1)该同学至少以多大的水平速度跳出,才能跳到水平跑道上?(2)若该同学以4m/s的速度水平跳出,则他在空中的运动时间为多少?答案 (1) m/s (2)0.6s归纳点睛:解决平抛运动问题的三个突破口(1)平抛运动的时间。平抛运动规律中,各物理量都与时间有联系,所以只要求出平抛运动的时间,其他的物理量都可轻松解出。(2)平抛运动的偏转角。如图所示。可得tanθ=gt/V0=,tanα=h/x,所以有tanθ=2tanα。从以上各式可以看出偏转角和其他物理量都有关联,通过偏转角可以确定其他的物理量。(3)平抛运动的一段轨迹。设图为某小球做平抛运动的一段轨迹,在轨迹上任取A、E、B三点,使FE=DB。则有tAE=tEB=T竖直方向上由匀变速直线运动推论得FC-AF=gT2水平方向上由匀速直线运动规律得FE=DB=v0T可由以上关系求解有关问题。练习2:如图所示为四分之一圆柱体OAB的竖直截面,半径为R,在B点上方的C点水平抛出一个小球(可视为质点),小球轨迹恰好在D点与圆柱体相切,OD与OB的夹角为60°,则C点到B点的距离为(  )  A.R    B.R/2    C.3R/4    D.R/4答案D.由题图知,水平位移x=Rsin60°=√3R/2=v0t,竖直位移y=Vyt/2,tan60°=Vy/V0=√3,联立解得y=3R/4,所以C点到B点的距离d=3R/4-R/2=R/4,选项D正确。三、平抛运动实验的数据处理第七章《万有引力与航天》知识点梳理7.1行星的运功一、地心说和日心说1.地心说(1)地球是宇宙的中心,是静止不动的;(2)太阳、月亮以及其他行星都绕地球运动;(3)地心说的代表人物是古希腊科学家托勒密。2.日心说(1)宇宙的中心是太阳,所有行星都绕太阳做匀速圆周运动;(2)地球是绕太阳旋转的行星,月球是绕地球旋转的卫星,它绕地球做匀速圆周运动,同时还跟地球一起绕太阳旋转;(3)天体不动,因为地球每天自西向东自转-一周,造成天体每天东升西落的现象;(4)日心说的代表人物是哥白尼.二、开普勒行星运动定律及其意义1.定律内容:第一定律:所有的行星围绕太阳运动的轨道都是椭圆,太阳处在所有椭圆的一个焦点上.第二定律:从太阳到行星的连线在相等的时间内扫过相等的面积.第三定律:行星轨道半长轴的三次方与公转周期的二次方的比值是一个常量.其表达式为r3/T2=k(在开普勒第三定律中,所有行星绕太阳转动的k值均相同;但对不同的天体系统k值不相同.k值的大小由系统的中心天体决定)2. 意义:开普勒的重要发现,为人们解决行星运动学问题提供了依据,澄清了多年来人们对天体运动神秘、模糊的认识,也为牛顿创立他的天体力学理论奠定了观测基础.开普勒是用数学公式表达物理定律并最早获得成功的人之一.从此,数学公式就成为表达物理学定律的基本方式.三、中学阶段对天体运动的处理方法由于大多数行星绕太阳运动的轨道与圆十分接近,因此,在中学阶段的研究中可以按圆轨道处理,开普勒三定律就可以这样表述:1.行星绕太阳运动的轨道十分接近圆,太阳处在圆心;2.对某一行星来说,它绕太阳做圆周运动的角速度(或线速度)不变,即行星做匀速圆周运动;3.所有行星轨道半径的三次方跟它的公转周期的二次方的比值都相等,即r3/T2=k.四、开普勒行星运动定律的应用1、从空间分布认识开普勒第一定律(1)各行星的椭圆轨道尽管大小不同,但是太阳总处在所有轨道的一个共同焦点上。(2)不同行星轨道的半长轴是不同的。(3)行星的椭圆轨道都很接近圆,中学阶段在分析处理天体运动问题时,可以将行星轨道作为圆来处理。这是一种突出主要因素、忽略次要因素的理想化方法,是研究物理问题的常用方法。2、从速度大小变化认识开普勒第二定律如图,行星沿椭圆轨道运行,太阳位于椭圆的一个焦点上,如果时间间隔相等,即t1-t2=t4-t3,那么面积SA-SB。由此可见,行星在远日点的速率最小,在近日点的速率最大。3、开普勒第三定律(1)表达式a3/T2=K ,其中a是椭圆轨道的半长轴,T为公转周期,k是与太阳质量有关而与行星无关的常量。(2)行星的椭圆轨道都很接近圆。在近似的计算中,可以认为行星以太阳为圆心做匀速圆周运动。若用r代表轨道半径,T代表周期,开普勒第三定律可以写成r3/T2=K。(3)知道了行星到太阳的距离,就可以由开普勒第三定律计算或比较行星绕太阳运行的周期;反之,知道了行星的周期,也可以计算或比较其到太阳的距离。7.2万有引力定律一、太阳与行星间引力公式的应用(1) 由于天体间的距离远大于天体本身的大小,因此在研究天体间的引力时可将天体看成质点,即天体的质量集中在球心处,故中的r指两天体球心间的距离。(2) 太阳对行星的引力效果是提供向心力,使行星绕太阳做匀速圆周运动。二、万有引力定律及引力常量的理解1、万有引力定律公式的适用条件(1)F=GMm/r2只适用于质点间的相互作用,但当两物体间的距离远大于物体本身的大小时,物体可视为质点,公式也近似成立。(2)当两物体是质量分布均匀的球体时,它们间的引力也可直接用公式计算,但式中的r是指两球心间的距离。特别提醒:万有引力存在于任何两物体之间,但万有引力定律公式只适用于两个质点或匀质球体之间,当物体间距r → 0时,物体不能视为质点,故不能得出r→0时,物体间万有引力F→∞的结果。2、引力常量(1)引力常量测定的理论公式为G=Fr2/Mm,单位为N·m2/Kg2    (2)物理意义:引力常量在数值上等于两个质量都是1kg的质点相距1m时的相互吸引力。(3)由于引力常量G很小,我们日常接触的物体的质量又不是很大,所以物体之间的引力通常被忽略。三、万有引力大小的计算(1)对于质量分布均匀的球体,万有引力定律的表达式中r为两球心间的距离。(2)用“填补法”求物体间的万有引力。计算一些非球形物体间的万有引力,常采用“填补法”。所谓“填补法”,即对本来是非对称的物体,通过填补后构成对称物体,然后再利用对称物体所满足的物理规律进行求解的方法。常见的类型是把非对称物体(挖空部分为球体)补成球体,即先把挖去的部分“补”上,使其成为半径为R的完整球体,再根据万有引力定律公式,分别计算出半径为R的球体和“补”上的球体对物体的万有引力,最后利用力的合成与分解的知识即可得到答案。四、万有引力与重力的关系1、重力是万有引力的分力如图所示,设地球的质量为M,半径为R, A处物体的质量为m,物体受到地球的吸引力为F,方向指向地心O,由万有引力公式得F=GMm/r2。由于地球自转,地球上的物体随之做圆周运动,所受的向心力F1=mω2r=mω2Rcosϴ,F1是引力F提供的,它是F的一个分力,F 的另一个分力2就是物体所受的重力,即F2=mg。由此可见,地球对物体的万有引力是物体受到重力的原因。由于物体随地球自转,需要有一部分万有引力来提供向心力,因此地球自转是产生重力和万有引力差异的原因。2、影响重力(重力加速度)大小的因素(把地球看成是一个质量分布均匀的球体).(1)物体在赤道上,如图所示,F向、F引、mg三者同向,向心力F向达到最大值mω2r,由mg=GMm/R2-mω2R知,重力最小。(2)物体在地球两极处,如图所示,由于向心力F向=0,故mg=GMm/R2重力最大,方向指向地心。(3)随着纬度的增大,重力逐渐增大。说明:在地球表面上,重力加速度随纬度的增大而增大,但这种差别不是很大,在近似计算中可以忽略这种变化。7.3万有引力定律的成就1.天体质量的计算(1)重力加速度法若已知天体(如地球)的半径R及其表面的重力加速度g,根据在天体表面上物体的重力近似等于天体对物体的万有引力,得mg=GMm/R2,解得天体的质量为M=gR2/G,g、R是天体自身的参量,所以该方法俗称“自力更生法”。(2)环绕法借助环绕中心天体做圆周运动的行星(或卫星)计算中心天体的质量,俗称“借助外援法”。常见的情况如下:2.天体密度的计算方法一:若天体的半径为R,由“重力加速度法”可知天体的质量为M=gR2/G,那么由ρ=M/V及V=πR3求得天体的密度ρ。方法二:若中心天体的半径为R,由“环绕法”可知中心天体的质量M=4π2r3/T2G (r、T为环绕天体的轨道半径和公转周期),那么由ρ=M/v及V=πR3求得中心天体的密度ρ。当行星(或卫星)环绕中心天体表面运动时,其轨道半径r等于天体半径R,则ρ=。ρ=给出了一种简单地求中心天体密度的方法,但是千万要注意这里的T是环绕中心天体表面运动时对应的周期,而不是在其他轨道上运动时的周期。注意区分R、r、h的意义,一般情况下,R指中心天体的半径,r指行星(或卫星)的轨道半径,h指卫星距离行星表面的高度,r=R+h。1.天体运动的分析与计算(1)基本思路:行星绕太阳的运动和卫星绕地球的运动一般情况可看作匀速圆周运动,所需向心力由太阳或地球这样的中心天体对它的万有引力提供,即F引=F向。第八章(机械能守恒定律)全章知识点填空8.1功与功率1.在物理学中规定_________叫做力对物体做了功。功等于_________,它的计算公式是________,国际单位制单位是___________,用符号_________来表示。2.在下列各种情况中,所做的功各是多少?(1)手用向前的力F推质量为m的小车,没有推动,手做功为__________。(2)手托一个重为25N的铅球,平移3m,手对铅球做的功为___________。(3)一只质量为m的苹果,从高为h的树上落下,重力做功为__________。3.___________叫做功率。它是用来表示物体_______的物理量。功率的计算公式是___________,它的国际单位制单位是___________,符号是_________。4.举重运动员在5s内将1500N的杠铃匀速举高了2m,则可知他对杠铃做的功为__________,功率是__________。5.两个体重相同的人甲和乙-起从一楼上到三楼,甲是跑步上楼,乙是慢步上楼。甲、乙两人所做的功W甲_______W乙,他们的功率P甲_______P乙。(填“大于”“小于”或“等于”)6.汽车以恒定功率起动,先做加速度越来越_____的加速运动,直到速度达到最大值,最后做____________运动。7.汽车匀加速起动,先做匀加速运动,直到___________,再做加速度越来________的加速运动,直到速度达到最大值,最后做___________运动。8.2.重力势能1.重力做功①做功表达式:_______________,式中h指初位置与末位置的_____高度差______;h1、h2分别指_______末位置________、________初位置_________的高度。②做功的正负:物体______向下运动_______时重力做正功;物体被______抬起_______时重力做负功。③做功的特点:物体运动时,重力对它做的功只跟它的________初、末位置_______有关,而跟物体运动的_______路径_______无关。2.重力势能①定义:物体的重力与所处高度的乘积。②大小:表达式Ep=____mgh_____;③单位:_____焦耳_____,符号:J。④标矢性:重力势能是______标量____,只有大小、没有方向。⑤重力做功与重力势能变化的关系(1)表达式:________________________(2)两种情况:物体下落:WG>0,EP1>EP2,势能减少物体上升:WG<0,EP1<EP2,势能增加8.3动能和动能定理一、动能的表达式在物理学中就用这个量_________表示物体的动能,用符号_____表示。于是我们说质量为m的物体,以速度v运动时的动能是___________。  动能是______量,它的单位与功的单位相同,在国际单位之中都是焦耳,这是因为1kg(m/s)2=1N·m=1J二、动能定理表达式_________可以写成____________其中表示一个过程的_________,表示这个过程的___________。这表明,力在一个过程中对物体做的功,等于物体在这个过程中_____________。这个结论叫做动能定理。动能定理不涉及物体运动过程中的加速度和时间。合力做正功时,物体的动能__________;合力做负功时,物体的动能___________。1.伽利略在斜面实验中(如图1所示),发现一个启发性的事实:无论斜面陡些或缓些,小球最后总会在斜面上的某点速度变为0,这点距斜面底端的竖直高度与它出发时的高度__________。在物理学中,我们把这一事实说成是“某个量是______的”,并且把这个量叫做________或_________。2.机械能包括_______能和_______能,重力做功:_________能和__________能可以转化,弹力做功:_________能和___________能可以转化。3.机械能守恒定律:在__________做功的物体系统内,________与_________可以__________,而总的_____________保持不变。8.4机械能守恒定律一、追寻守恒量1、能量是普遍存在的2、伽利略斜面实验现象表明:让静止的小球沿一个斜面滚下,小球将滚上另一个对接斜面,没有摩擦时,小球将滚到与开始时相同的高度。3、能量概念的建立:始、末位置高度相同,小球运动中守恒的量叫____________。二、动能与势能的相互转化1、重力做_________,重力势能转化为动能;克服重力做功,________转化为重力势能。2、弹性势能也可以与动能相互转化。3、重力势能、弹性势能与动能都是机械运动中的能量形式,统称为____________。三、机械能守恒定律在只有重力或弹力做功的物体系统内,动能与势能可以_______________,而总的机械能保持_________。1.必须选择一个符合机械能守恒的运动模型来验证机械能守恒定律,本实验选择自由落体运动模型来验证机械能守恒定律,是因为物体在自由落体运动过程中只_________做功,满足_________。2.按照书本要求,本实验是验证自由落体轨迹上开始点和其后任意点的机械能守恒,为此必须选择物体初速度为____________,判断开始点是否满足要求的依据是_________,为了计算物体减少的重力势能,必须测量出物体_____________,对应的测量器材是____________。为了计算出某点时刻物体的动能,必须测量出物体在该时刻的瞬时速度,其计算公式为___________,这是利用了什么原理?___________。为了计算物体的动能和重力势能,按理还需要知道物体的质量,但本实验中可以不测物体的质量,其原因是___________。8.5实验:机械能守恒定律一、用落体法验证机械能守恒定律1、实验步骤(1)仪器安装:按图示装置竖直架稳打点计时器,并用导线将打点计时器接在电源上。(2)打纸带:将长约1m的纸带用小夹子固定在重物上后穿过打点计时器,用手提着纸带,使重锤静止在靠近打点计时器的地方。接通电源,松开纸带,让重锤自由下落,打点计时器就在纸带上打下一系列的点。(3)换几条纸带,重复上面的实验。2、数据处理(1)求瞬时速度在取下的纸带中挑选第1、2两点间距离接近2mm且点迹清晰的纸带进行测量。记下第1个点的位置O,在纸带上从离O点适当距离开始选取几个计数点0、1、2、3、…、n+1并测量出各计数点到O点的距离h0、h1、h2、h3、…、hn+1,再根据公式Vn=(hn+1—hn-1)/2T,计算出1、2、3、…、n点的瞬时速度v1、v2、v3、…、vn。(2)机械能守恒验证方法一:利用起始点和第n点从起始点到第n个计数点,重力势能减少量为mghn,动能增加量为________,如果在实验误差允许的范围内________________,即___________成立,则机械能守恒定律得到验证。方法二:任取两点①任取两点A,B,测出hAB,求出ghAB。②分别求出A、B两点的瞬时速度vA、vB,求出_____________的值。③如果在实验误差允许的范围内____________,就证明机械能是守恒的。方法三:图像法计算各计数点的,以为纵轴,以各计数点到第一个点的距离h为横轴,根据实验数据绘出­h图线。若在实验误差允许的范围内,图像是一条过原点且斜率为g的直线,如图所示,则验证了机械能守恒定律。(3)误差分析①本实验中因重物和纸带在下落过程中要克服空气阻力及打点计时器的摩擦阻力做功,故动能的增加量ΔEk稍________重力势能的减少量ΔEp,即_________,这属于系统误差。改进的办法是调整器材的安装和选用质量和密度较大的重物,尽可能地减小阻力的影响。②本实验的偶然误差主要来源于长度的测量。减小误差的办法是测下落距离时都从O点量起,一次将各计数点对应的下落高度测量完,或者______________。【典例一】1、晓宁利用“自由落体”的方法验证了机械能守恒定律,他进行了多次操作打出了四条不同的纸带,经过测量可知纸带A、纸带B,纸带C、纸带D前两点之间的距离分别为0.185cm、0.192cm、0.265cm、0.195cm。已知低压交流电源的频率为50HZ、重锤的质量为1.00Kg、重力加速度取g=9.80m/s2。回答下列问题:(1)上述的四条纸带中有一条在操作过程中存在明显的问题,该纸带为__________;(2)按照测量的要求从其中选出一条合适的纸带,并选取点迹清晰的计时点,用刻度尺测出的实验数据如图所示,分析知纸带的__________(选填“左”或“右”)端与重锤相连;(3)由图中的实验数据求解打计时点2时,重锤下落的速度为_________.(4)重锤由计时点0下降到计时点2的过程中,重锤的重力势能的减少量△EP为_______,重锤的动能的增加量△EK为________,由计算分析可知_______ (选填“&gt;” “ =”或“&lt;”),原因为_____________. (5)请根据以上写出实验结论:______________.二、用气垫导轨验证沿斜面下滑物体的机械能守恒1、实验步骤(1)器材安装: 按图示安装器材,调节气垫导轨至倾斜状态,测出两光电门所在位置的高度差Δh。(2)实验测速:连通进气装置,使气垫导轨开始工作,从静止释放滑块,分别侧出滑块经过两个光电门的遮光时间Δt1、Δt2。(3)重复实验:从不同的位置释放滑块,分别测出遮光时间。2、数据处理(1)速度的测量:用游标卡尺测出滑块上遮光片的宽度d,读出遮光条通过光电门的遮光时间,则滑片通过光电门的速度V=d/△t。(2)验证关系式 方式1(两个光电门):分别测出滑块经过两个光电门的速度V1=d/△t1和V2=d/△t2,用刻度尺测出两光电门的高度差Δh,验证在误差范围内是否满足g·△h=(1/2)×[(d/△t2)2—[(d/△t1)2]。方式2(一个光电门):让滑块从光电门上方某一位置由静止释放,测出该点到光电门的高度差△h和滑块经过光电门的速度,验证在误差范围内g·△h=(1/2)×(d/△t)2成立。【典例二】2、某学校实验小组利用如图所示的实验装置来验证钩码和滑块所组成的系统机械能守恒。(1)实验前先调整气垫导轨底座使之水平;(2)利用游标卡尺测得遮光条的宽度为d,实验时将滑块从图示位置由静止释放,由数字计时器读出遮光条通过光电门的时间为Δt,那么,在本次实验中还需要测量的物理量有:钩码的质量m、_____________________和______________________________(以文字说明并用相应的字母表示);(3)本实验通过比较________和__________________(用测量的物理量符号表示)在实验误差允许的范围内相等,就可以验证系统的机械能守恒。  典例一答案解题思路:(1)纸带C肯定有操作错误,因为h=0.265cm>0.20cm,说明他操作时先释放了纸带,后接通了电源,致使打点计时器打第一个计时点时,重锤的速度并不为零;(2)因重锤做自由落体运动,开始记录时计时点间距小,所以纸带的左端与重锤相连;(3)重锤的速度V2=(x03—x01)/2T,代入数据可得V2=0.98m/s;(4)从计时点0到计时点2的过程中,重力势能的减少量△Ep=mgx02≈0.49J,动能的增加量△EK=(1/2)mV2≈0.48J,由以上计算知,△Ep>△EK,这是因为实验中有摩擦力和空气阻力等阻力的存在,重锤要克服阻力做功而损失机械能;(5)在实验误差允许范围内机械能守恒。答案:(1)纸带C;(2)左;(3)0.98m/s;(4)0.49J,0.48J,&gt;,实验中存在摩擦力和空气阻力,重锤克服阻力做功损失机械能;(5)在实验误差允许范围内机械能守恒 典例二答案解题思路:(2)由于遮光条通过光电门的时间极短,因此可以利用平均速度来代替瞬时速度,因此滑块经过光电门时的瞬时速度为v=d/△t,计算滑块(包含遮光条)的动能还需要知道滑块(包含遮光条)的质量M,故还需要测量M。为了计算钩码的重力势能的减小量,还需要知道滑块上遮光条的初始位置到光电门的距离x。(3)以钩码和滑块(包括遮光条)所组成的系统为研究对象,其重力势能的减小量为mgx,系统动能的增加量为(1/2)(M+m)(d/△t)2。因此只要比较二者是否相等,即可验证系统机械能是否守恒。答案:(2)滑块(包含遮光条)的质量M 滑块上遮光条的初始位置到光电门的距离x下载完整电子版   领取方法1  ▼第1步:扫码关注 班班通教学平台第2步:发送关键字【24】2个数字   领取方法2  ▼打不开百度网盘链接的地区可长按扫码直接进入下载电脑端下载网址http://jazpan.com/box/533.html图文来自网络,版权归原作者,如有不妥,告知即删点击阅读原文下载全册PPT课件动画教案习题整套资料

APP观看

扫码安装,或者点击这里


.

1→ 统编教材配套课外阅读书籍

2→ 难懂的数学概念一眼看明白